瓦楞纸结构包装盒,19世纪初因重量轻而且价格便宜,用途广泛,制作简易,且能回收甚至重复利用,使它的应用有了显著的增长。到20世纪初,已获得为各种各样的商品制作包装而全面的普及、推广和应用。
瓦楞纸结构包装盒优点:
①缓冲性能好。②轻便、牢固。③外形尺寸小。④原料充足,成本低。⑤便于自动化生产。⑥包装作业成本低。⑦能包装多种物品。⑧金属用量少。⑨印刷性能好。⑩可回收复用。

瓦楞纸结构包装盒结构:
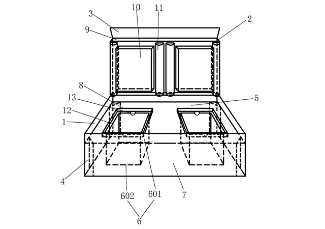
主要包括盒体和盒盖,盒体呈内腔中空的长方体,该长方体的上面一侧边连接盒盖形成翻盖结构,盒盖上设置有盖沿,盒体内四角均设置有一个支撑体,支撑体的高度小于盒体的高度,四个支撑体上设置有内衬体,内衬体由矩形的板体和设置于板体上的至少一个容纳腔体组成,板体的四角分别对应地设置于四个支撑体上,板体至盒体内的下面之间形成一置物空间,容纳腔体位于该置物空间内,容纳腔体具有开口,开口设置于板体上;盒盖的内表面上设置有加厚板,加厚板上设置有压盖体和挡条,压盖体与容纳腔体的开口位置相对应,压盖体用于盒盖合上压盖住所述容纳腔体上的开口,挡条设置于压盖体的两侧,用于盒盖合上后压住板体。对产品进一步的包装保护。
东莞市智彤包装制品有限公司是一家通过FSC认证的印刷厂,16年专注包装彩盒、瓦楞纸结构包装盒、礼品包装盒、吸塑纸卡、吊牌吊卡等纸质印刷品,完整的售前售后服务,免费设计,快速出版,当天下单,隔天发货,为您提供一站式服务。 ——责任编辑:智彤包装 版权所有www.gdztbz.com(包装盒厂家)欢迎转载_请注明出处